Индукционные котлы ИКВ схемы подключения, технические характеристики
1. Назначение и применение индукционных котлов ИКВ1.1 Индукционные котлы ИКВ предназначены для получения горячей воды для технологических нужд, отопления промышленных и жилых помещений и для обеспечения горячего водоснабжения. 1.2 Условия эксплуатации: -работа в постоянном и повторно кратковременном режимах; -температура внешней среды от + 5°С до + 40°С; -внешняя среда - неагрессивная, невзрывоопасная; 1.3 Климатическое исполнение У (У Х Л), категория размещения 4 ГОСТ 1 5150-69. Сертификат соответствия в наличии Орган сертификации: «ИЖ-СТАНДАРТ-ТЕСТ». |
2. Технические характеристики котлов индукционных ИКВ2.1 Вид теплоносителя вода. 2.3 Температура теплоносителя, в режиме получения горячей воды - до 95 "С 2.4 Максимальное рабочее давление теплоносителя МПа - 0.3 2.5 Тепловая мощность на 1 кВт электрической мощности, не менее, 850 Ккал. 2.6 Мощность производимых предприятием индукционных котлов, кВт - 3...60 2.7 Напряжение сети переменного тока, В - 220/380 (+- 5%) 2.8 Частота тока, Гц - 50 Примечание: по согласованию с производителем в качестве теплоно-сителя, кроме воды, возможно применение тосола и других специальных негорючих жидкостей. |
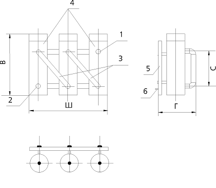
Вариант компоновки моделей ИКВ 3 кВт — 80 кВт |
Габариты индукционного котла:В-высота, Ш-ширина, Г-глубина, С-расстояние между входными и выходными патрубками
1 .Патрубок выходной, 2. Патрубок входной, 3. Трубки соединительные, 4. Вихревые нагреватели, 5. Рама, 6. Болт заземления |
Схемы подключения индукционных котлов ИКВ




